ДР-ПП-41
Доступен для скачивания
краткий каталог продукции:
Датчик-реле потока (реле протока) лепестковый ДР-ПП-41 предназначен для контроля потока воды через трубопровод, а также для управления исполнительными механизмами с целью защиты оборудования от «сухого хода». При наличии потока воды в трубопроводе датчик-реле подает сигнал на выводы.
Принцип работы датчиков-реле основан на отклонении лепестка внутри прибора. Лепесток смещается под действием давления потока жидкости в трубе и замыкает контакты геркона. В случае отсутствия потока в трубе лепесток возвращается в исходное положение под действием силы тяжести, что приводит к размыканию контактов. Направление движения потока должно соответствовать стрелке на корпусе датчика-реле.
Принцип работы датчиков-реле основан на отклонении лепестка внутри прибора. Лепесток смещается под действием давления потока жидкости в трубе и замыкает контакты геркона. В случае отсутствия потока в трубе лепесток возвращается в исходное положение под действием силы тяжести, что приводит к размыканию контактов. Направление движения потока должно соответствовать стрелке на корпусе датчика-реле.
Особенности:
- НО-контакт. При наличии потока контакт геркона замыкается
- Высокий ресурс срабатываний
Для увеличения коммутационной способности датчика-реле следует использовать промежуточные реле, например, MY, 55-02, 55-04, LY4 c управляющим напряжением =24 В и током потребления не более 300 мА. Также возможно использовать промежуточные реле с управляющим напряжением ~24 В. Для питания катушки промежуточного реле необходимы блоки питания, например, DR, MDR, БП97, БП67.

Для защиты прибора от попадания инородных частиц рекомендуется установить фильтр механической очистки перед датчиком-реле. Для герметизации резьбовых металлических соединений рекомендуется использовать анаэробные герметики.
| Параметр
| ДР-ПП-41 | ||||||||
| -15 | -20 | -25 | -32 | -40 | -50 | -65 | -80 | -100 | |
| Рабочая среда
| Вода, этиленгликоль и другие неагрессивные жидкости | ||||||||
| Максимальное давление рабочей среды | 1,5 МПа
| ||||||||
| Температура рабочей среды
| −10...+110°C | ||||||||
| Минимальный расход
| 3 л/мин
| 3,5 л/мин | 3,5 л/мин | 4 л/мин | 4 л/мин | 5 л/мин | 7 л/мин | 10 л/мин | 20 л/мин |
| Максимальный расход
| 15 л/мин
| 20 л/мин | 50 л/мин | 70 л/мин | 120 л/мин | 200 л/мин | 240 л/мин | 300 л/мин | 360 л/мин |
| Коммутируемая мощность
| 50 Вт
| ||||||||
| Максимальный коммутируемый ток | =0,5 А (при =110 В) | ||||||||
| Максимальное коммутируемое напряжение | =220 В | ||||||||
| Cтепень пылевлагозащиты
| IP65 | ||||||||
| Длина провода
| 430 мм ± 10%
| ||||||||
| Материал
| Нержавеющая сталь
| ||||||||
| Присоединение | внутр.
G½" | внутр.
G¾" | внутр.
G1" | внутр.
G1¼" | внутр.
G1½" | внутр.
G2" | внутр.
G2½" | внутр.
G3" | внутр.
G4" |
| Монтажное положение
| Горизонтальное
| ||||||||
| Габаритные размеры
| 58×63×54 мм
| 66×75×60 мм | 75×86×61 мм | 82×100×74 мм | 90×107×77 мм | 105×133×87 мм | 137×163×106 мм | 150×189×118 мм | – |
| Вес
| 203 г | 316 г | 481 г | 598 г | 747 г | 1148 г | 2549 г | 3446 г | – |
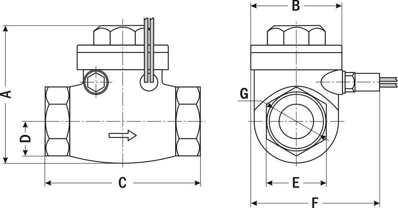
| Габаритные размеры
|
![]() |
| Размер
| ДР-ПП-41
| ||||||||
| -15
| -20 | -25 | -32 | -40 | -50 | -65 | -80 | -100 | |
| A
| 58
| 66 | 66 | 82 | 90 | 105 | 137 | 150 | – |
| B
| 37
| 44 | 44 | 60 | 62,5 | 75 | 101 | 112 | – |
| C
| 63
| 75 | 79 | 100 | 113 | 133 | 163 | 189 | – |
| D
| 14
| 17,5 | 21 | 25,5 | 28 | 35 | 45,5 | 53 | – |
| E
| 25
| 31 | 38 | 47 | 51,5 | 65 | 82,5 | 97 | – |
| F
| 54
| 60 | 61 | 74 | 77 | 87 | 106 | 118 | – |
| G
| ½"
| ¾" | 1" | 1¼" | 1½" | 2" |
2½"
|
3"
| 4" |
Версия: 2025-08-05-СДГ
| Документ | Дата обновления |
| Отказное письмо 02.03.2016 | 11.10.2022 |
| Паспорт на ДР-ПП-41 | 23.10.2025 |
