PSDB
Доступен для скачивания
краткий каталог продукции:
Крепежный элемент для установки и фиксации пневмоцилиндров на рабочей поверхности пневматической системы
Особенности:
Для пневмоцилиндров с диаметром поршня 16...40 мм
Для пневмоцилиндров и дополнительных крепежей с диаметром монтажного отверстия свыше 6...11,5 мм (размер D, см. чертеж) и размером монтажной части до 14...24 мм (размер C, см. чертеж)
Крепежный элемент устанавливается на пневмоцилиндры ПНЦ-Р и ПНЦ-И напрямую, а на ПНЦ-Т только с использованием дополнительных крепежей (TY и TIJ)
Технические характеристики:
Для пневмоцилиндров и дополнительных крепежей с диаметром монтажного отверстия свыше 6...11,5 мм (размер D, см. чертеж) и размером монтажной части до 14...24 мм (размер C, см. чертеж)
Крепежный элемент устанавливается на пневмоцилиндры ПНЦ-Р и ПНЦ-И напрямую, а на ПНЦ-Т только с использованием дополнительных крепежей (TY и TIJ)
| Параметр | Значение | ||||
| Модель | PSDB-16 | PSDB-20, 25 | PSDB-32 | PSDB-40 | |
| Типоразмер (Диаметр поршня пневмоцилиндра) | 16 мм | 20 мм, 25 мм | 32 мм | 40 мм | |
| Диаметр шарнира (D) | 6 мм | 8 мм | 10 мм | 11,5 мм | |
| Монтажный размер (С) | 14 мм | 20 мм | 21,5 мм | 24 мм | |
| Материал | Сталь 30 | ||||
| Габаритные размеры | 28×51×24 мм | 42×67×48 мм | 47×73×52 мм | 51×77×55,5 мм | |
| Вес | 28 г | 92 г | 148 г | 179 г | |
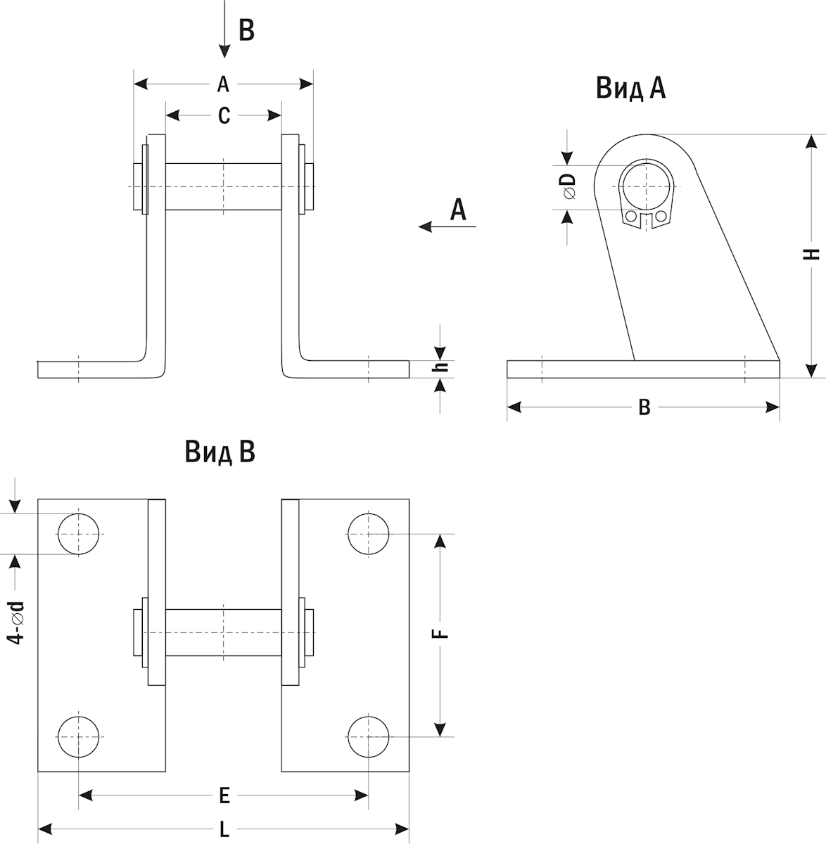
| Габаритные размеры |
![]() |
| Модель | Размеры, мм | |||||||||
| A | B | C | D | 4-d | Е | F | H | h | L | |
| PSDB-16 | 22 | 24 | 14 | 6 | 4-5,5 | 39 | 13 | 28 | 2 | 51 |
| PSDB-20, 25 | 30 | 48 | 20 | 8 | 4-6 | 53 | 34 | 42 | 3 | 67 |
| PSDB-32 | 35 | 52 | 21,5 | 10 | 4-6,5 | 57 | 36 | 47 | 4 | 73 |
| PSDB-40 | 37,5 | 55,5 | 24 | 11,5 | 7 | 59 | 40 | 51 | 4 | 77 |
