БСС-215МВС
Доступен для скачивания
краткий каталог продукции:
Многоуровневые сигнальные светодиодные лампы предназначены для использования в помещениях, позволяют контролировать технологические процессы с помощью световой и звуковой индикации.
Сигнальные лампы БСС-215МВС – круглого сечения с одной, двумя и тремя светодиодными секциями красного, зеленого и желтого цветов. Могут быть подключены в режиме постоянного свечения или в режиме мигания. Конструктивно световые сегменты представляют собой припаянные с двух сторон к плате управления светодиоды (рис. 1, рис. 2).
Области применения:
Сигнальные лампы БСС-215МВС – круглого сечения с одной, двумя и тремя светодиодными секциями красного, зеленого и желтого цветов. Могут быть подключены в режиме постоянного свечения или в режиме мигания. Конструктивно световые сегменты представляют собой припаянные с двух сторон к плате управления светодиоды (рис. 1, рис. 2).
- Станки и конвейеры
- Автоматические ворота и шлагбаумы
- Индикация уровня заполнения в бункерах и резервуарах

Рис. 1 — светодиоды на плате управления Рис. 2 — светодиоды на плате управления
(вид спереди, питание выключено)* (вид сбоку, питание включено)*
(вид спереди, питание выключено)* (вид сбоку, питание включено)*
* На рисунках 1 и 2 изображена модель БСС-215-3МВС
| Площадка под винты для крепления на горизонтальную поверхность | Кронштейн для крепления на стену или иную вертикальную поверхность |
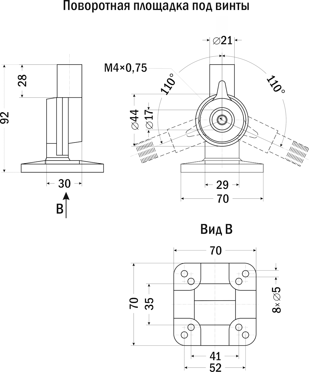
Универсальное крепление (поворотная площадка под винты)
| |
![]() | ![]() |
| |
Важно! С двух сторон штока находится резьба разного назначения (см. чертеж). При сборке башни с площадкой под винты или универсальным креплением шток вкручивается резьбой 2 в корпус лампы, а резьбой 1 в площадку. При сборке башни с кронштейном шток вкручивается резьбой 1 в корпус лампы, а на резьбу 2 устанавливается кронштейн.
Технические характеристики:
| Параметр
| БСС-215-1МВС
| БСС-215-2МВС
| БСС-215-3МВС
|
| Количество уровней
| 1
| 2
| 3
|
| Цвет
| Красный
| Красный и зеленый
| Красный, желтый и зеленый
|
| Высота уровня
| 64 мм
| ||
| Диаметр лампы | 50 мм
| ||
| Режимы работы | Постоянное свечение или мигание в зависимости от способа подключения | ||
| Питание | ~220 В, =24 B | ||
| Сирена | 100 дБ | ||
| Крепление | Кронштейн, площадка под винты или универсальное крепление | ||
| Степень пылевлагозащиты | IP43 | ||
| Температура эксплуатации | −10...+45°С | ||
| Длина провода | 370 мм ±10% | ||
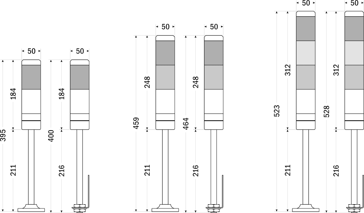
| Высота в сборе с универсальным креплением | 468 мм
±5% | 532 мм
±5% | 596 мм
±5% |
| Вес с универсальным креплением | 209 г | 259 г | 299 г |
| Высота в сборе с площадкой под винты/с кронштейном | 395/400 мм
±5% | 459/464 мм
±5% | 523/528 мм
±5% |
| Вес с площадкой под винты/с кронштейном | 190/250 г | 240/300 г | 280/340 г |
| Габаритные размеры |
|
![]() |
Габаритные размеры с кронштейном и площадкой под винты
БСС-215-1МВС БСС-215-2МВС БСС-215-3МВС
|
Габаритные размеры с универсальным креплением (поворотной площадкой под винты)
БСС-215-1МВС БСС-215-2МВС БСС-215-3МВС |
Версия: 2025-04-26-СДГ
| Документ | Дата обновления |
| Паспорт на БСС-215МВС | 27.04.2025 |


